跳到主要內容區塊

桃園市「路口雙色溫路燈」獲日、德新型專利肯定 邁向智慧城市新里程

  • 發布單位:秘書室


桃園市「路口雙色溫路燈」繼114年8月21日獲得台灣新型專利證書後,經本府再接再厲努力推廣,再獲國際肯定,於114年12月陸續榮獲日本及德國新型專利證書!

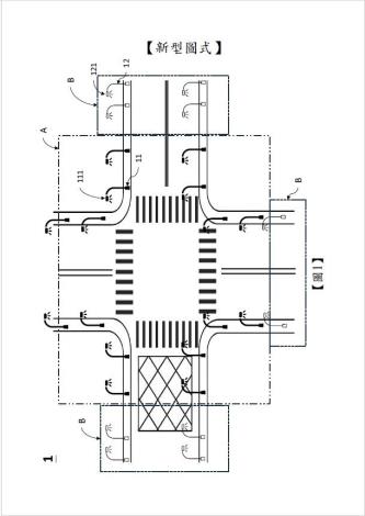
為有效提升道路安全環境並降低車禍肇事率,本府針對全市多處重要路口路燈進行「路口雙色溫路燈」設計,藉由其降低路口肇事率之顯著成效,及透過創新理念辦理「道路雙色溫路燈系統及雙色溫路燈燈具」新型專利申請,結合人眼視覺機制與光源色溫特性,有效改善夜間視線表現並提升路口安全。此創新系統目前已獲得臺灣、德國及日本新型專利,為未來智慧城市道路照明立下嶄新里程碑。


【什麼是「雙色溫路燈」?路燈發出的黃光與白光有什麼不同?】

一般道路照明多採單一色溫燈具,無法因應不同區域的視覺需求。所謂「雙色溫路燈」設計,是指在不同道路區段配置兩種不同色溫的光源,在路段中建置低色溫(黃光)路燈,而在路口處則建置高色溫(白光)路燈:

1.    低色溫(黃光):波長較長,刺激性低,視覺舒適,適合用於長途行駛或一般路段,減緩視覺疲勞、穩定情緒。

2.    高色溫(白光):波長較短、對人眼感光細胞刺激強,容易讓駕駛者提高警覺與集中注意力,因此用於警示區域可有效引導視線集中,提升反應速度。

此外,白光的「S/P比」(暗視覺/明視覺比值)較高,更適合人眼在夜間辨識細節與移動物體。黃光則在雨霧天氣中穿透力強,有助於提升不良天候下的可視度。透過在路口建置雙色溫路燈的結合與過渡,能讓駕駛視覺從舒適轉為警戒,形成「主動提醒」的照明策略。


【創新亮點:雙色溫路燈配置提升警示性與舒適性】

此系統創新地將路燈分為兩類:

第一燈具(黃光、低色溫 2700K~3500K),用於一般道路或直線路段等通常區域,減少長時間夜間駕駛的疲勞與壓力。

第二燈具(白光、高色溫 4500K~6500K),安裝於路口、斑馬線、學區等警示區域,強化駕駛者警覺性;

這樣的配置係依據人眼視覺原理設計,透過視覺色偏差引導駕駛者進入路口時的警示模式,有效降低路口肇事率,提升行人可見度,並落實交通四大核心照明指標:安全性、舒適性、注意力性與預警性。


「路口雙色溫路燈」設計不僅可大幅提升夜間交通安全與行人辨識率,也具備與城市照明、氣候應對與節能策略整合的潛力,預計將成為未來各級道路設計與更新的指標性方案。本府將持續推動相關措施,提升桃園市民生活及道路照明品質。